BMW heeft octrooien aangevraagd voor een nieuwe, flexibele brandstoftank. Dat zou erop kunnen wijzen dat er serieus werk wordt gemaakt van een hybride motorfiets.
Het is niet de eerste keer dat BMW zich in de wereld van hybride motorfietsen stort. Je herinnert je vast nog wel de BMW R 1200 GS van Wunderlich. Die had naast het gebruikelijke Boxer-blok ook een 7,6 kW elektromotor in de naaf van het voorwiel. Het zou zo maar kunnen dat deze motor officieel wordt.
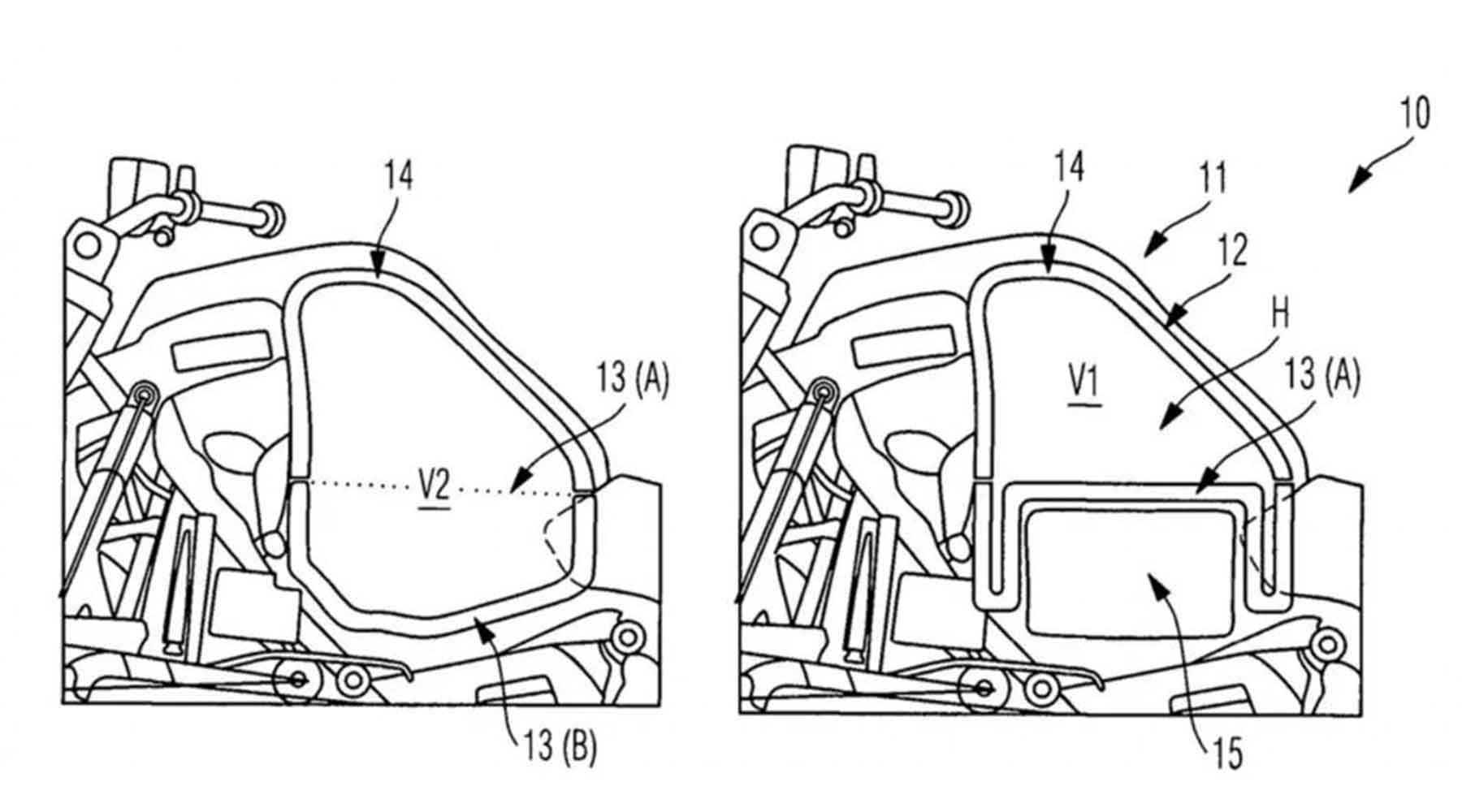
De nieuwe patenten tonen een ‘brandstoftank met variabele capaciteit’. Het onderste deel van de tank is gemaakt van een flexibel materiaal. Dat maakt het makkelijk om de vorm van de tank aan te passen. Ook kan er een verwijderbare accu in opgenomen worden die de elektromotor aandrijft. Kennelijk is het de bedoeling dat je een lege accu kunt omruilen – bij de BMW-dealer – kunt omruilen voor een volle. Het belangrijkste voordeel is dat je de elektromotor benut in en rond de stad. Als je een – lange – toer gaat maken, laat je de accu thuis en vergroot je de inhoud van de brandstoftank.
Ondanks dat het octrooi niet ingaat op de specifieke kenmerken van de hybride aandrijving zelf, kun je het doel van de nieuwe technologie goed doorzien.





