Het is geen geheim dat Honda werkt aan een nieuwe supersport met V4 blok. Die zal waarschijnlijk naast de Fireblade worden aangeboden. De eerste patenten gaan terug tot 2014 en sindsdien heeft Honda regelmatig nieuwe technische oplossingen ingediend. Ook zou de keuze van het WSB Moriwaki-team de komst van een geheel nieuw model voor de WK Superbikes bevestigen. Daarmee volgt Honda de weg van Ducati, die speciaal voor deelname aan het WSB een motor klaarstoomde die volgens de geldende homologatieregels net door de beugel konden. Kawasaki zou deze truc voor de nieuwe Ninja ZX-10R ook willen toepassen voor het WSB 2020-2021.
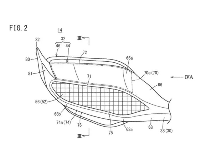
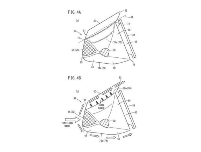
Uit een zo’n ingediend octrooi lijkt Honda te gaan erken met achteruitkijkspiegels mdie een aërodynamische functie hebben. In plaats van te vertrouwen op wings die op de kuip worden aangebracht, zoals bij de Aprilia RSV4 en de Ducati V4R – lijkt Honda te kiezen voor spiegels die downforce te genereren. Op zijn minst is dat een merkwaardige oplossing: want noem eens een motorrace waar achteruitkijkspiegels verplicht zijn?
Niet vreemd
Voor Honda is zo’n vreemde aërodynamische keuze niet nieuw. De allereerste Honda CBR900RR Fireblade had vanwege aërodynamische voordelen gaatjes in de stroomlijn. De superbike doe in die jaren meedeed aan het wereldkampioenschap had de gaatjes niet.





