Honda heeft een nieuw patent ingediend voor een systeem dat motorongevallen door de dode hoek moet helpen voorkomen – dat melden diverse media. In essentie gaat het niet om ‘zelfsturend rijden’, maar om een geavanceerde stuurassistentie (ADAS, Advanced Driver Assistance System) die met camera’s, radar en dodehoek-sensoren continu het verkeer rond de motor monitort. Het doel: gevaarlijke situaties sneller herkennen en de rijder ondersteunen om een aanrijding te vermijden.
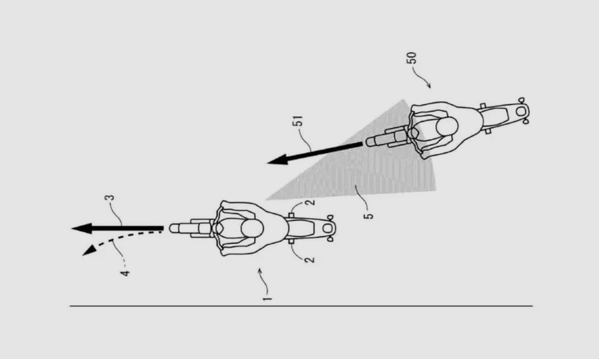
De dode hoek blijft een van de grootste risico’s voor motorrijders. Auto’s, bestelwagens en vrachtwagens missen geregeld een motor in hun spiegels, met het bekende excuus “ik had je niet gezien”. In zulke scenario’s is de motor bijna altijd in het nadeel: kleiner, minder zichtbaar en minder stabiel dan grotere voertuigen, waardoor de impact bij een conflict vaak groter is.
Honda’s V4-motor keert terug: nieuwe patenten wijzen op VFR-opvolger
Camera’s, radar en servo-actuatoren
Volgens de patentbeschrijving gebruikt Honda een combinatie van sensoren, radars en camera’s om voertuigen in de omgeving te detecteren en te monitoren, zelfs wanneer de rijder ze zelf niet (tijdig) opmerkt. Op basis van die data kan het systeem een mogelijke botsing voorspellen en berekenen welke uitwijk- of remopties nog realistisch zijn. Een centrale regeleenheid verwerkt alles in realtime en stuurt vervolgens servo-actuatoren aan om de ondersteuning precies te doseren.
Geen zelfsturend systeem
Belangrijk: de motor neemt niet zelfstandig de controle over de stuurinrichting. Het systeem treedt pas in werking wanneer de rijder zelf al begint te sturen of te remmen, en helpt dan geleidelijk mee – snel genoeg om risico’s te beperken, maar zonder de bestuurder te verrassen. Over timing, introductie en concrete modellen is nog niets bekend; daarvoor is het wachten op verdere communicatie van Honda of een volgende ontwikkelfase…




Is dat allemaal wel nodig? Het lijkt erop dat dit tot gevolg kan hebben dat motorrijders nog dichter op de andere voertuigen gaan zitten en aldus “ vertrouwen “ op dat nieuwe systeem.
De oplossing is zeer eenvoudig, afstand houden en pas inhalen wanneer het kan. Dus zowel voertuigen die van achteren naderen als de voertuigen die ingehaald gaan worden. Overigens is dicht op een auto rijden gevaarlijk vanwege de langere remweg van een motor tov de auto. Wat ook erg irritant is dat een auto vlak achter je rijdt. De vraag is dan altijd of het persoon in de auto wel op tijd stopt wanneer de motor plotseling moet remmen vanwege een voorliggend voertuig!!