De echo van een V4-motor, een symfonie van mechanische perfectie die decennialang de ruggengraat vormde van Honda’s meest begeerde tweewielers, klinkt opnieuw door in de wandelgangen van de motorwereld. Recente patenten, onlangs openbaar gemaakt, wijzen onmiskenbaar op de ontwikkeling van een geheel nieuwe V4-krachtbron. Dit is geen gerucht, maar een concrete indicatie dat Honda zich opmaakt voor een herintrede in het hoogwaardige V4-segment, mogelijk met een opvolger van de iconische VFR1200.

Hoewel de exacte contouren van dit toekomstige meesterwerk nog gehuld zijn in de mist van ontwikkeling, bieden deze technische blauwdrukken en Honda’s rijke historie een fascinerende basis voor analyse. De ingediende patenten tonen twee cruciale innovaties: een geavanceerd oliecirculatiesysteem gericht op minimale interne wrijving en een ingenieus koelsysteem dat werkt via leidingen in de V tussen de cilinderbanken. Deze documenten zijn geen droge juridische teksten, maar gedetailleerde blauwdrukken van een toekomstvisie waarin elke verloren joule energie wordt teruggewonnen.
Honda Dream CB50R uit 2004 nieuw in de kist aangeboden in België
Van screamer tot big-bang: Honda’s V4-evolutie
Honda’s liefdesaffaire met de V4-motor is een epische vertelling die teruggaat tot 1982, een periode waarin het Japanse merk onafgebroken tot 2020 modellen met deze configuratie produceerde. De evolutie van de V4-architectuur bij Honda is een studie in ingenieurskunst die verschillende filosofieën heeft omarmd. De vroegere 750cc- en 800cc-modellen waren vaak uitgerust met een 90° cilinderhoek en een 180° krukas, wat resulteerde in een ‘screamer’-geluidssignatuur – een hoogtoerige, bijna gillende klank die menig purist kippenvel bezorgde.

De legendarische VFR750R RC30 uit 1988 werd een rijdend manifest van Honda’s technische superioriteit, een machine die vandaag de dag nog steeds verzamelaarsharten sneller doet kloppen. Deze machines waren meer dan motoren; het waren culturele artefacten uit een tijdperk waarin Honda de grenzen van de motortechniek verlegde met slechts 4.782 handgebouwde exemplaren die de fabrieken van Hamamatsu verlieten.
De latere 1200cc V4, die zijn debuut maakte in de VFR1200F van 2010 tot 2017, nam een andere afslag. Met een 76° cilinderhoek en een 28° kruktapverzetting produceerde deze motor een kenmerkende ‘big-bang’ ontstekingsvolgorde van 104-256-104-256 graden. Dit resulteerde in een rauwere, meer voelbare vermogensafgifte en maakte ironisch genoeg een balansas overbodig. De VFR1200F was bovendien de eerste motorfiets ter wereld die werd uitgerust met Honda’s revolutionaire Dual Clutch Transmission (DCT).
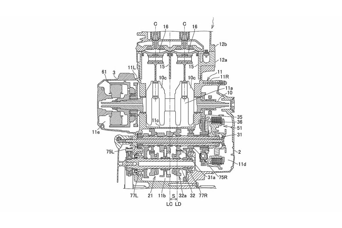
Technische doorbraak in compacte vorm
De nieuwe gepatenteerde motor toont een opvallend compacte bouw vergeleken met zijn VFR1200F-voorganger, die bekend stond om zijn robuuste, bijna massieve constructie. Dit compacte ontwerp wordt mogelijk gemaakt door een geoptimaliseerd smeersysteem dat cruciale componenten zoals de dynamo, startmotor, waterpomp en koppeling efficiënter bedient. De aanwezigheid van een balansas, een component die juist ontbrak in de ‘big-bang’ VFR1200F, duidt sterk op een terugkeer naar een regelmatige ontstekingsvolgorde.

De cilinderhoek lijkt dichter bij 90° te liggen dan bij de 76° van de vorige 1200cc-V4, wat een ander motorkarakter betekent – een andere ‘feel’ en, cruciaal voor de liefhebber, een andere geluidssignatuur. De dagen van de rauwe ‘big-bang’ brul lijken geteld, ten gunste van een meer verfijnde, maar zeker niet minder indrukwekkende klank. De patenten wijzen op een kettingaandrijving voor het achterwiel, die veel eerdere VFR-modellen kenmerkte.
Het innovatieve koelsysteem, waarbij leidingen in de V tussen de cilinderbanken de thermische huishouding reguleren met prioriteit voor de achterste cilinderbank, is een slimme oplossing voor een klassiek V-motorprobleem. De achterste cilinders, vaak minder blootgesteld aan rijwind, hebben de neiging heter te worden. Honda’s ingenieurs hebben hier een elegante, bijna chirurgische precisie toegepast om de temperatuurbalans te perfectioneren.



