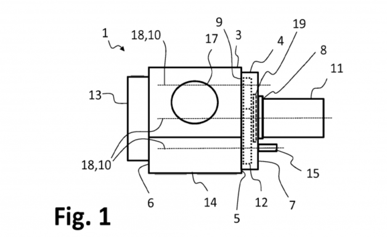
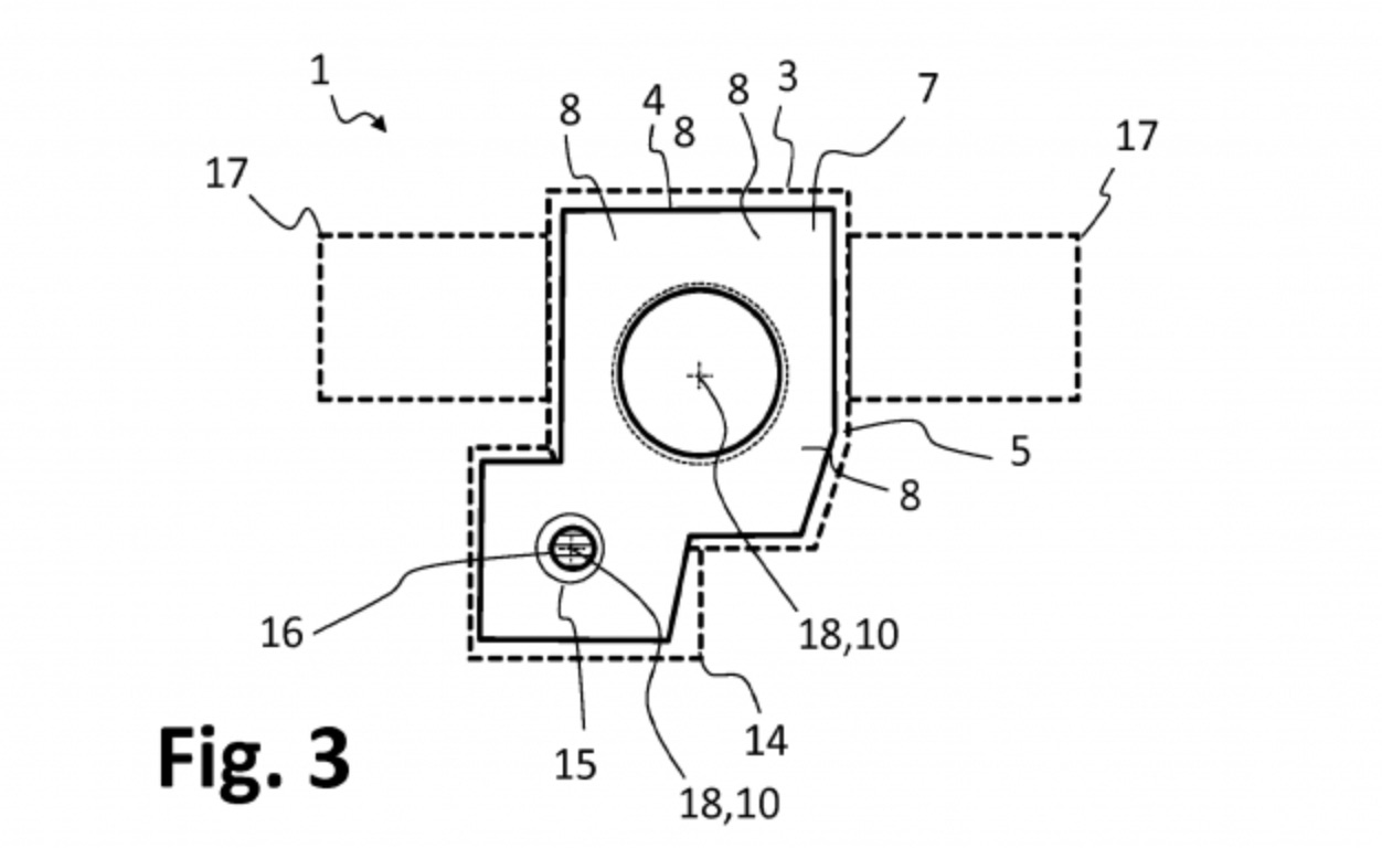
Als je dacht dat motoren veilig zijn voor hybride technologie, berg je dan maar. Een nieuwe octrooiaanvraag door BMW onthult dat het bedrijf zou kunnen werken aan een hybride boxerblok. De patent-tekeningen bij het octrooi zijn vrij eenvoudig en het is onduidelijk wat er precies aan de hand is.
Blijkbaar plaatst het patent de elektrische aandrijving bij het boxerblok. Zowel het benzine- als het elektrisch vermogen drijven samen het achterwiel aan. De sleutel van dit patent zou de adapter zijn waarmee de elektrische aandrijving kan samenwerken met de benzinemotor.
De adapter heeft een planetair tandwielsysteem en verbindt de twee energiebronnen. Van daaruit gaat het vermogen van het blok en de elektromotor via een gewone koppeling en transmissie naar het achterwiel. De elektromotor werkt als startmotor, maar kan ook werken als generator om de verschillende motorsystemen van stroom te voorzien.
Een hybride zou geweldig kunnen zijn
Een van de interessante dingen aan de adapter is dat het BMW in staat stelt om een soort modulaire aandrijflijn te bouwen. Dit betekent dat je desgewenst van elektromotor kunt wisselen. En dat zou betekenen dat BMW een nieuwe elektromotor kan inbouwen waarmee het vermogen van de motor drastisch zou worden verhoogd.
Het octrooi zegt dat de elektromotor, afhankelijk van de motor, 20% tot 200% van het maximale koppel bij een bepaalt toerental kan leveren. De mogelijkheden zijn dan groot. BMW zou de vermogensband kunnen gladstrijken door het koppel aan te vullen, net zoals in supercars. In principe zou de elektromotor vermogen toevoegen wanneer de koppelkromme van de benzinemotor een dip heeft, zoals bij het wisselen van versnelling. Dit zou zorgen voor een soepele en vlot draaiend blok, wat zowel op de weg als offroad heel gunstig zou zijn.
BMW heeft al eerder geëxperimenteerd met hybride technologie, dus het is geen grote verrassing dat ze nog steeds met dit soort technologie spelen. Kennelijk is het ook zo dat elke motorfabrikant op de een of andere manier aan elektrisch aangedreven motoren werkt.






