Yamaha werkt aan een baanbrekende innovatie die de manier waarop motoren rijden volledig op zijn kop kan zetten. Het Japanse merk heeft een patent aangevraagd voor een achterbrug die tijdens het rijden automatisch van lengte kan veranderen. Dit klinkt misschien technisch, maar de gevolgen zijn enorm: één motor die zowel wendbaar als stabiel kan zijn, zonder dat je daar compromissen voor hoeft te sluiten.
Historie 70 jaar Yamaha: innoveren in creëren
Het eeuwige dilemma: wendbaarheid of stabiliteit
Motorontwerpers worstelen al decennialang met een lastig probleem. Een korte achterbrug maakt een motor wendbaar en scherp in bochten. Je stuurt sneller in, draait gemakkelijker en kunt razendsnelle richtingswisselingen maken. Perfect voor bochtig werk dus.
Maar diezelfde korte achterbrug heeft nadelen bij krachtige acceleratie. De motor wordt dan minder stabiel, het voorwiel komt sneller omhoog en tractie wordt lastiger te behouden. Een lange swingarm lost dat op: meer stabiliteit, betere tractie en rustiger gedrag bij vol gas. Ideaal voor rechte stukken en krachtige versnellingen.
Het probleem? Je kunt niet beide hebben. Tot nu toe moesten motorontwerpers kiezen: of een sportieve, wendbare motor met beperkte stabiliteit, of een stabiel platform dat minder scherp stuurt. Het is alsof je kiest tussen sportschoenen en wandelschoenen – voor elke situatie ideaal, maar niet beide tegelijk.

Yamaha’s slimme oplossing: een swingarm die meedenkt
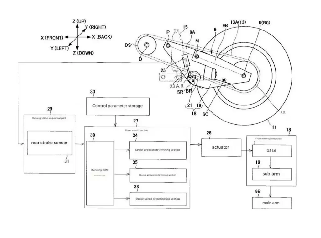
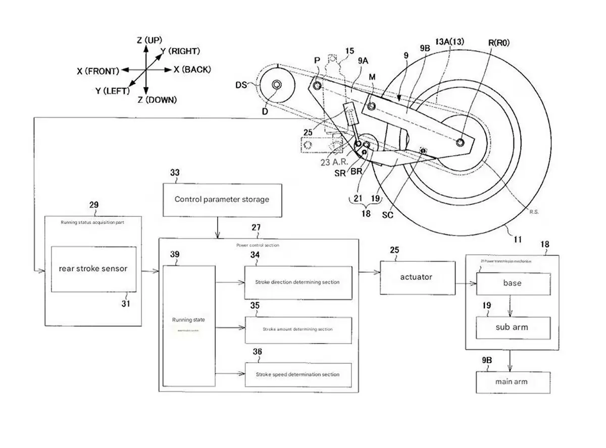
Yamaha’s nieuwe ontwerp doorbreekt dit patroon. In plaats van een vaste achterbrug heeft het systeem een extra scharnierpunt halverwege. Daardoor kan de swingarm letterlijk langer of korter worden tijdens het rijden. Een geïntegreerd hydraulisch systeem, aangestuurd door elektronica, past de lengte continu aan.
Het brein achter dit systeem is een elektronische stuurunit die constant meetgegevens analyseert. Sensoren meten je gasstand, snelheid, versnelling, remkracht en belasting op de aandrijflijn. Op basis van deze informatie bepaalt de computer wat de ideale swingarmlengte is voor dat specifieke moment.
Kom je uit een bocht en geef je vol gas? Het systeem verlengt de achterbrug direct voor betere tractie en stabiliteit. Rem je hard af voor een scherpe bocht? De achterbrug wordt korter voor wendbaarder gedrag. Alles gebeurt automatisch, zonder dat je er als rijder iets voor hoeft te doen.
Meer dan alleen lengte: het kettingprobleem opgelost
Yamaha lost met dit systeem ook een ander vervelend probleem op: kettingkrachten. Wanneer je gas geeft, trekt de ketting aan de achteras. Deze trekkracht verstoort de balans van het chassis en beïnvloedt de vering. Op een normale motor moet je als rijder daar constant voor compenseren met je stuurinput en lichaamspositie.
Het nieuwe Yamaha-systeem kan deze kettingkrachten actief tegengaan door de achterbrug-geometrie aan te passen. Het resultaat? Een motor die veel stabieler blijft tijdens versnellen, zonder dat de rijder voortdurend moet bijsturen. De elektronica neemt als het ware een deel van het rijwerk over, waardoor je je beter kunt concentreren op je lijn en snelheid.
Techniek Yamaha MotoGP-V4: V for Victory
Van racecircuit naar showroom?
Dit innovatieve systeem klinkt fantastisch, maar betekent dat ook dat we het snel op de weg zien? Waarschijnlijk niet meteen. De complexiteit van het systeem – met hydrauliek, sensoren, actuatoren en geavanceerde elektronica – maakt grootschalige productie voor consumenten voorlopig een uitdaging. En dan hebben we het nog niet eens over het gewicht, maar op dat gebied heeft Yamaha al eerder laten zien ontzettend innovatief te zijn.
De kosten zullen aanzienlijk zijn, en het systeem vraagt om nauwkeurig onderhoud en betrouwbare werking onder alle omstandigheden. Bovendien moet Yamaha het systeem uitvoerig testen om te garanderen dat het veilig functioneert in crisissituaties, bij verschillende weersomstandigheden en tijdens jarenlang gebruik.
Toch demonstreert Yamaha hiermee hun vooruitstrevende visie op motorontwikkeling. Zoals met veel racetechnologie zou dit systeem eerst kunnen verschijnen op high-end sportmotoren of zelfs racebikes, voordat vereenvoudigde versies hun weg vinden naar modellen voor het grote publiek.
De toekomst van motorgeometrie
Yamaha’s patent vertegenwoordigt een fundamentele verschuiving in hoe we naar motorontwerp kijken. Negentig jaar lang, sinds de moderne swingarm met schokdempers in 1936 door Velocette werd geïntroduceerd, hebben motoren met statische geometrie gereden. Deze innovatie suggereert een toekomst waarin motoren zich constant aanpassen aan de rijsituatie.
Het is vergelijkbaar met hoe elektronische rijhulpsystemen zoals ABS en tractiecontrole de veiligheid revolutioneerden. Destijds leken ook die systemen complex en duur, maar nu zijn ze standaard op praktisch elke motor. Misschien kijken we over tien jaar terug en vragen we ons af hoe we ooit zonder variabele swingarmgeometrie hebben kunnen rijden.
Voor nu blijft het een fascinerend patent dat laat zien dat zelfs fundamentele motoronderdelen nog ruimte bieden voor revolutionaire vernieuwing. Yamaha bewijst daarmee dat innovatie in de motorwereld springlevend is – zelfs na bijna een eeuw van ontwikkeling.
Wanneer komt het?
Yamaha heeft nog geen concrete plannen aangekondigd voor implementatie van dit systeem. Een patent aanvragen betekent niet automatisch dat de technologie ook daadwerkelijk in productie gaat. Het toont vooral de richting waarin het merk denkt en welke mogelijkheden ze verkennen voor de toekomst van motorrijden. Of we deze technologie ooit op straat zien rijden, hangt af van technische haalbaarheid, kosten en marktvraag – maar de fundering is gelegd.


