Het zou heel goed kunnen dat de 2020 Honda CBR1000RRR Fireblade actieve vleugels krijgt. Dat kun je opmaken uit onlangs gedeponeerde patenten.
Al jaren zou Honda aan een nieuwe CBR1000RRR werken. En al jaren blijven we wachten. Maar nu zijn we hoopvoller dan ooit. Er zijn online patenten opgedoken waarin een nieuwe Honda superbike wordt beschreven. En die is voorzien van actieve aërodynamica. Daar wordt een motorrijder toch gelukkig van?
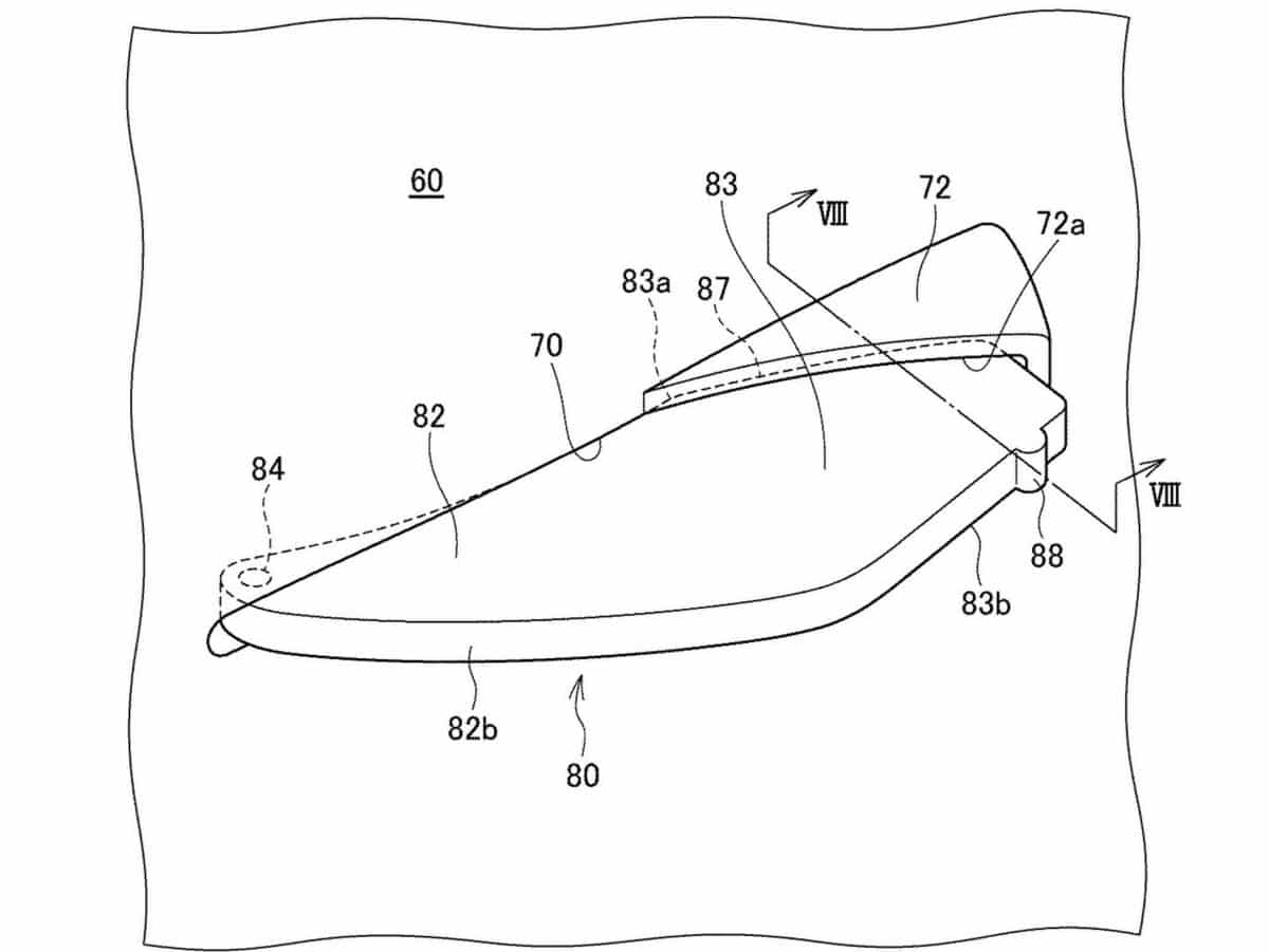
Uit de begeleidende tekeningen blijkt ook dat de Fireblade niet het langverwachte V4 blok krijgt. Daarentegen lijkt de 2020 superbike veel meer gelijkenissen te hebben met de RC213V MotoGP-machine. Afgezien van een groot aantal wijzigingen om de supersporter geschikt te krijgen voor de openbare weg, is er nog een – groot – verschil: Active Aerodyamics
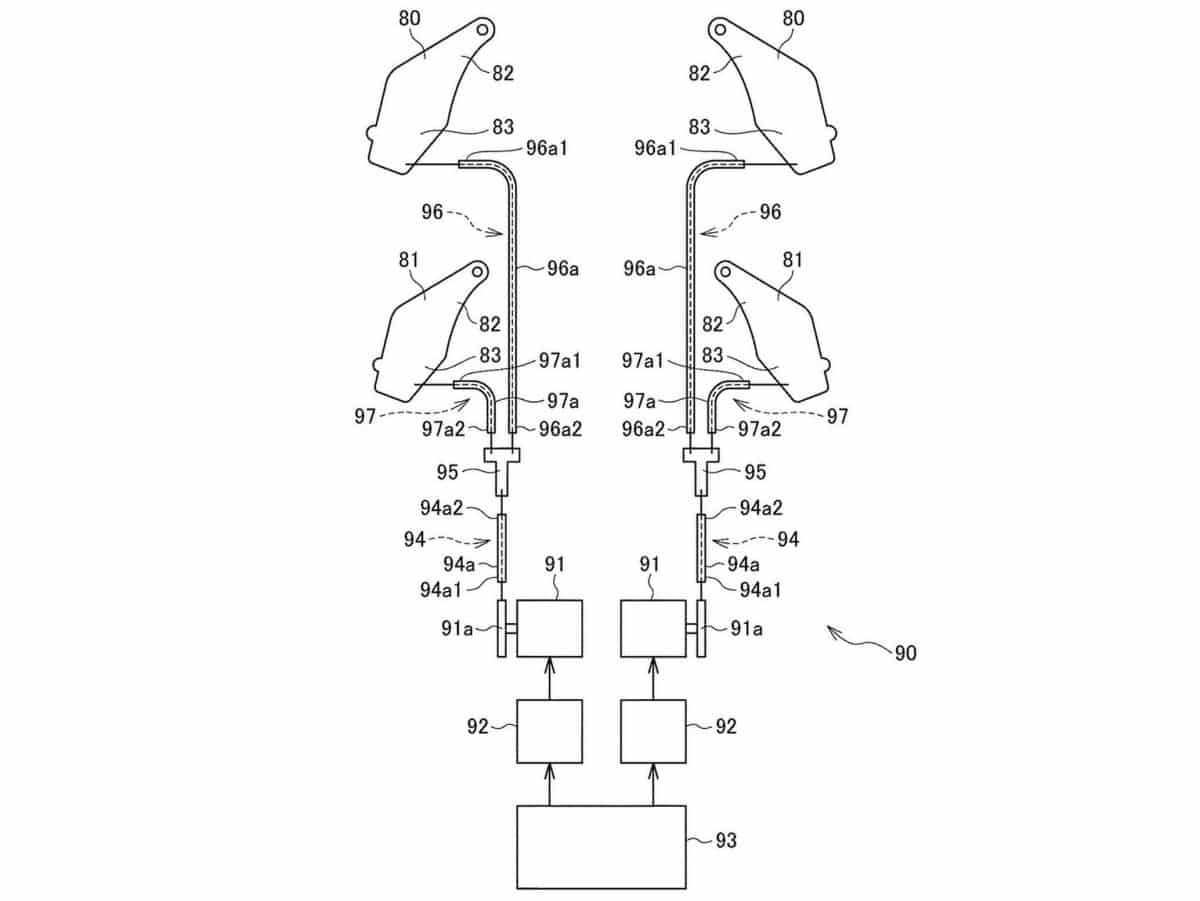
De nieuwe Honda superbike heeft een set van vier veerbelaste winglets die worden geactiveerd door een interne computer. In principe zou de techniek de nieuwe Honda CBR1000RRR helpen om de downforce bij hard remmen te verhogen, terwijl de stroomlijn op hoge snelheden er niet onder hoeft te lijden.
De regels van de WorldSBK schrijven voor de aerodynamica van sportmotoren hetzelfde moet zijn als van het productiemodel. Dus lijkt het erop dat Honda zich serieus voorbereidt op een spannend World Superbike Championship van volgend jaar.





