zaterdag 25 april 2026
Home Blog Pagina 1170

Krankzinnig: heuvelklimmen op een Honda Africa Twin

0
Africa Twin Hillclimb

Je zou denken dat een Honda Africa Twin met z’n 230 kilo te zwaar is voor een lekker steile hillclimb. Daar denken de mannen en vrouwen van de Mary Valley Dirt Bike Riders heel anders over.

Die hebben een aantal steile hellingen aangepakt. Met een bijna verticale beklimming hebben de meeste rijders met hun enduro- en/of crossmotoreen al een probleem om naar de top te rijden. Het is dus niet meer dan logisch dat een adventure van 230 kg, die zich thuisvoelt op gravel- en stoffige dirtroads, zwaar in de problemen gaat komen.

Bekijk meer clips van Mary Valley Dirt Bike Riders

Bron: visordown

In het spoor van Egbert Streuer

0

Speciaal voor de tentoonstelling ‘Egbert Streuer – Nederlands meest succesvolle wegracecoureur’ in het Drents Museum heeft Streuer een mooie motorroute door Drenthe uitgestippeld. Ontdek tijdens de route onder meer Streuers favoriete terras, de beste bocht en de meest interessante bezienswaardigheden in Drenthe. De route is gratis te downloaden via www.drentsmuseum.nl/motorroute.  

Als iemand Drenthe goed kent, dan is het Streuer wel. In zijn jeugd was hij altijd op straat te vinden of op het Balloërveld. Nog altijd trekt hij er graag op uit met de motor om een rondje door ‘zijn’ Drenthe te maken. De route is ongeveer 150 kilometer lang. 

De tentoonstelling over Streuer is overigens nog tot en met 1 september te zien in het museum.

 

Heel ontspannend: timelapse opbouw Kawasaki KLR650

0
Timelapse_Kawasaki_KLR650

Vrouwen en mannen die bijna blindelings motoren uit- en in elkaar zetten. Jaloersmakend om te zien. We hebben op YouTube een 15 minuten durende timelapse gevonden. Uit een hoop onderdelen ontstaat een zeer bruikbare Kawasaki KLR650. En zo’n timelapse bekijken werkt heel ontspannend.

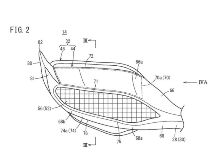
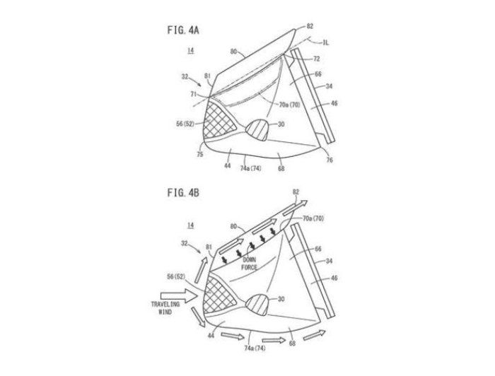
Honda: aërodynamische spiegels op nieuwe supersport?

0
Honda Superbike

Het is geen geheim dat Honda werkt aan een nieuwe supersport met V4 blok. Die zal waarschijnlijk naast de Fireblade worden aangeboden. De eerste patenten gaan terug tot 2014 en sindsdien heeft Honda regelmatig nieuwe technische oplossingen ingediend. Ook zou de keuze van het WSB Moriwaki-team de komst van een geheel nieuw model voor de WK Superbikes bevestigen. Daarmee volgt Honda de weg van Ducati, die speciaal voor deelname aan het WSB een motor klaarstoomde die volgens de geldende homologatieregels net door de beugel konden. Kawasaki zou deze truc voor de nieuwe Ninja ZX-10R ook willen toepassen voor het WSB 2020-2021.

Uit een zo’n ingediend octrooi lijkt Honda te gaan erken met achteruitkijkspiegels mdie een aërodynamische functie hebben. In plaats van te vertrouwen op wings die op de kuip worden aangebracht, zoals bij de Aprilia RSV4 en de Ducati V4R – lijkt Honda te kiezen voor spiegels die downforce te genereren. Op zijn minst is dat een merkwaardige oplossing: want noem eens een motorrace waar achteruitkijkspiegels verplicht zijn?

Niet vreemd

Voor Honda is zo’n vreemde aërodynamische keuze niet nieuw. De allereerste Honda CBR900RR Fireblade had vanwege aërodynamische voordelen gaatjes in de stroomlijn. De superbike doe in die jaren meedeed aan het wereldkampioenschap had de gaatjes niet.

Louis: Goed bepakt en bezakt op motorvakantie

0
bagagesysteem vanucci louis

Met een sportmotor ben je de Koning van de Bochtige Bergweg. Maar waar laat je je bagage? Vanucci heeft een bagagesysteem ontwikkeld voor vlotte en sportieve motoren. Vanucci gebruikt voor hun bagagesysteem de knowhow en medewerking van gerenommeerde specialisten. Zo maakt de tanktas gebruik van het Evo-systeem van SW-Motech, ken je de zijtassen van het C-Bow-systeem van Hepco & Becker en is de rugzak samen met Deuter ontwikkeld. Alle drie bieden ze goede bagagevervoermogelijkheden. En ze zijn op elkaar afgestemd.

Vanucci tanktas Evo

Deze Sportieve tanktas is met z’n 7-9 liter volume vrij klein. Maar groot genoeg voor alles wat je tijdens een tocht bij de hand wil hebben. Het past op veel supersportmotoren en sportieve naked bikes. De tanktas is waterafstotend, een extra waterdichte hoes is inbegrepen. De bevestiging verloopt via het beproefde Evo-systeem van SW-Motech: gewoon op de tankring vast klikken, klaar. Groot voordeel ten opzichte van andere bevestigingssystemen is de goede stabiliteit bij hoge snelheden. De Vanucci tanktas Evo kost €119,99. *

Vanucci zijtassen VS09

Sportieve zachte tassen zijn zeer geschikt om op een sportmotor spullen mee te nemen. Er past genoeg – 66 liter – in een lang weekeinde weg. Waterdichte binnenvakken en een afsluitbaar hoofdvak beschermen tegen regenwater. En omdat een sportief bagagesysteem ook een veilige en stabiele houder vereist, vertrouwt Vanucci op het sterke C-Bow-systeem van Hepco & Becker. De Vanucci zijtassen kosten €199,99. *

Vanucci rugzak VSD01

Een smart rugzak van 15 liter. Het draagsysteem kan je verbergen waardoor je  achter een afdekking worden opgeborgen. Op deze manier wordt de rugzak indien nodig een achtertas, die met de 2 riemen aan beide zijkanten op het passagierszadel kan worden bevestigd. Flexibel en professioneel, interieur met hoofd- en voorvak en andere binnenvakken voor belangrijke kleine spullen. Een geïntegreerde regenhoes zorgt voor bescherming tegen vocht.
De Vanucci rugzak VSD01 is bij Louis verkrijgbaar voor €119,99.

* Het modelspecifieke bevestigingssysteem moet apart worden besteld.

Hoe kies je de juiste helm? | Motorkledingtips

0

Hoe kies je voor jezelf de juiste helm? Bart krijgt het antwoord van expert Rogier.

Volledig nieuwe Kawasaki Ninja ZX-10RRR voor 2020?

0

Kawasaki zou een nieuwe Kawasaki Ninja ZX-10RRR willen introduceren voor modeljaar 2020. Dat kun je opmaken uit het gesprek dat Ichiro Yoda, Senior Engineer van het Kawasaki raceteam, had met de Duitse website Speedweek.

Yoda reageert op de dominantie van de Ducati Panigale V4 R en coureur Alvaro Bautista in het WK Superbikes. Tevens waarschuwt hij als het ware de Italiaanse fabrikant dat Kawasaki voor volgend jaar aan de meet staat met een nieuwe motor.

Yoda’s woorden zouden aangeven dat Kawasaki een soortgelijke stap wil maken als Ducati met de Panigale V4 R. De Ducati werd geheel volgens de homologatieregels gebouwd. Kawasaki laat weten niet blij te zijn met deze Ducati ‘homologatie special’. De Panigale V4 R domineert het World Superbike Championship vanwege z’n kracht. De Ducati is dan ook heel anders dan de ‘gewone’ versie van het bedrijf. Maar de homologatieregels van het WK Superbike moedigen het gedrag van Ducati juist aan. Die verplichten dat je in het eerste jaar 250 stuks en tweede jaar opnieuw 250 stuks bouwt voor een maximale verkoopprijs van €40.000,-.

Stagnerende introducties en techniekontwikkeling

De prestaties van de huidige Ninja ZX-10RRR superbike zijn onvoldoende om de strijd met Ducati aan te gaan. Yoda geeft in het interview dat Kawasaki eerst een nieuwe Ninja ZX-10RRRR op de markt moet brengen wil het concurreren met Ducati. Deze Ninja zou om zich te kunnen meten ook gebruik moeten maken van MotoGP-technologie. Kawasaki heeft bedenkingen bij deze aanpak, omdat het in hun ogen buiten de geest van de homologatieregels valt.

Nu zou Yoda’s reactie ook tactiek kunnen zijn. Eentje die de huidige houding van Japanse fabrikanten ten opzichte van supersports ietwat verbloemt. Want de interesse in en verkopen van superbikes zijn tanende. Dan snap je dat de lust om in dit segment te investeren de Japanse merken danig is vergaan. Daardoor blijft de introductie van nieuwe superbikes achterwege en stagneert de ontwikkeling van technologie. En vooral techniek is in dit segment uiterst belangrijk is. Europese merken voelen daarentegen wel interesse voor hun producten. Zolang ze maar intrigerend zijn (hoog vermogen, scherp design, MotoGP techniek etc).

Kawasaki lijkt niet bij de pakken neer te willen zitten door het WK Superbike zo maar aan zich voorbij te laten gaan. Als zodanig kun je een reactie verwachten voor volgend jaar. En dat is goed nieuws voor liefhebbers van superbike motoren.

Win een waardebon van 1.000 EURO met je Mega MotorTreffen toegangskaart

0

Wil je een reden om naar het Mega MotorTreffen te gaan. Als je een entreebiljet koopt in de voorverkoop, krijg je hoe dan ook de laagste prijzen op je aankopen in de mobiele motorkledingoutlet van MotorkledingStore.nl. Die hebben hoe dan ook op 18 & 19 mei gegarandeerd de laagste kledingprijzen van Nederland! Ook in de online shop.

Bezoekers aan het Mega MotorTreffen maken met het entreebiljet bovendien kans op een waardebon van 1.000 EURO!

BESTEL HIER JE KAARTJE VOOR HET MEGA MOTORTREFFEN 2019!

 

Kawasaki Versys 1000 SE lezerstest: de route

0

Afgelopen vrijdag reden we de eerste lezerstest vanuit ons nieuwe kantoor in Hilversum. Vijf lezers, volgers en/of vrienden van MotorNL reden op een Kawasaki Versys 1000 SE de door ons uitgezette route. Om een goed oordeel te kunnen vellen over de Kawasaki Versys 1000SE hebben we voor de testroute gekozen voor wegen met een verschillend karakter: van uiterst smalle boerenlandweg tot brede zesbaanssnelweg. Misschien is de route leuk om zelf ook eens te rijden.

[sgpx gpx=”/wp-content/uploads/gpx/TRACK-Versystest.GPX”]

Video: Keanu Reeves geeft kijkje achter de schermen

0

Je kent hem natuurlijk van filmseries als The Matrix of John Wick. Keanu Reeves is een begenadigd acteur in actiefilms. Maar als er één ding is waar hij meer passie voor heeft dan acteren dan zijn het wel motorfietsen. Die passie begon dankzij een van zijn acteerrollen waarvoor hij in München verbleef. Hij leerde in zijn vrije tijd op een enduro rijden en, bij terugkomst in de Verenigde Staten, kocht hij direct een motorfiets om zijn nieuwe hobby voort te zetten. 

Hoewel de Canadees nog wel eens koeltjes kan overkomen, blijkt dat motorfietsen van hem een ware spraakwaterval maken. In de video hieronder, gemaakt door het Amerikaanse lifestyle-tijdschrift GQ, leidt hij je rond door de werkplaats van Arch Motorcycles. Dat bedrijf starrtte hij samen met custombouwer Gard Hollinger nadat die een motorfiets voor Reeves bouwde op basis van een Harley-Davidson. 

In die werkplaats staan overigens ook nog wat interessante machines die niet een Arch-embleem dragen. De circuitfietsen van het management, Reeves’ eigen Norton Commando maar misschien dat de Ducati 998 uit de Matrix Reloaded wel het paradepaardje is in het gebouw.