vrijdag 24 april 2026
Home Blog Pagina 1156

Inhoud & routes Promotor 05/19

0
Promotor 5 2019

Vanaf volgende week in de online kiosk

Toeren

TankTasTocht #4: Zomer in het Noorden

Lemmer. Wolvega. Heerenveen. Wat gaat er bij het horen van die namen door je heen? Ik zie vooral veel schaatsenrijders. IJsstadion Thialf, vol carnavaleske figuren met rare hoofddeksels – dat er zoveel idioten zijn dat je er keer op keer een stadion mee kunt vullen, blijft verbazen. Maar verder? O ja, en een voetbalclub waar ze al jaren ruzie maken. Daar blijft het bij.

Lees verder

Pyreneeën: In het Spoor van de Tour de France

Elk jaar trekt de karavaan van de Tour de France over de Pyreneeën. De passen en finishplaatsen die de grootste wielerronde ter wereld in deze bergketen aandoet, zorgen niet alleen bij de wielrenners, maar ook bij veel motorrijders voor een verhoogde pols…

Lees verder

Frankische Schweiz: Bamberg op een Bierviltje

Hoeveel geniale ideeën dankt de mensheid aan bierviltjes? Een zekere Christoffel Columbus trok ooit in een havenkroeg wat lijntjes op zo’n kartonnetje. Een paar eeuwtjes later krabbelde ene Albert Einstein in een ‘gemütliche Kneipe’ wat berekeningen op een ‘Bierdeckel’. En onlangs zaten twee knapen in een Amsterdamse kroeg met van die minifrisbees te spelen en kregen daardoor een briljante inval. Deze Heren op Leeftijd wilden graag hun vijftigjarige vriendschap op gepaste wijze vieren. En daar, in de oudste tapperij die in Amsterdam heeft standgehouden, kregen ze van De Druif-eigenaar Kees de gouden vondst op een presenteerviltje aangereikt. Kees is expert op het gebied van Duitse bieren, met name uit het Frankenland, de streek rond Bamberg.

Lees verder

Rij met ons mee naar de Honda CB Days in Antwerpen

Blokkeer alvast in je agenda; zondag 7 Juli organiseert Honda de CB-Day in de haven van Antwerpen. Het evenement is echt niet alleen bedoeld voor CB-rijders, want alle motorrijders zijn van harte welkom! En nóg leuker: MotorNL maakt er een mooie tocht van.

Schrijf je in

Promotor Reizen

23 – 35 augustus | Ardennen, vanaf €279,-. Inclusief 2 overnachtingen, halfpension

30 augustus – 6 september | Rondreis Franse Alpen en Balcony Roads vanaf €799,-. Inclusief 7 0vernachtingen (3 hotels), halfpension

6 – 15 september | Schotland en Orkneys, vanaf €1.559,-. Inclusief 7 overnachtingen, ferries, halfpension 

11 – 18 september | Toscane en Umbrië, vanaf €1.499,-. Inclusief motortransport, 7 overnachtingen, halfpension

Motorfietsen getest

  • Kawasaki Z1000SX Tourer
  • Yamaha Tracer 700 GT
  • BMW R1250 R
  • Ducati Diavel 1260 S
  • Indian FTR1200

 

Pyreneeën: In het Spoor van de Tour de France

0

Elk jaar trekt de karavaan van de Tour de France over de Pyreneeën. De passen en finishplaatsen die de grootste wielerronde ter wereld in deze bergketen aandoet, zorgen niet alleen bij de wielrenners, maar ook bij veel motorrijders voor een verhoogde pols…

Een lastige keuze? Twee uren in het wellnescentrum van Bains du Couloubret in Ax-les-Thermes óf een middagje blazen naar het Plateau de Beille, de zesvoudige finishplaats van de Tour de France met een zestien kilometer lange beklimming van Les Cabannes tot aan de finishlijn op 1.780 meter hoogte? Nee. Ook al was het een lange reis naar Ax les Thermes en ook al is deze koppige easy rider niet helemaal ongevoelig voor de geneugten van de warmwaterbehandelingen: wie in het spoor van de Tour de France door de Pyreneeën wil rijden, kan zich toch niet al op de eerste dag laten verleiden en vertroetelen, toch?

[sgpx gpx=”/wp-content/uploads/gpx/TRK-0519_Pyreneeen.GPX”]

Gratis tankring bij aankoop Kappa Tanklock tanktas

0
Kappa Tanklock

Een tanktas is een handige accessoire. Je ‘kleine spullen’ heb je altijd bij de hand. Stel dat je stilstaat voor de Franse péage, naarstig op zoek naar je creditcard. Die zou ergens in je jas moeten zitten. Maar waar? In de tanktas heeft je creditcard een vaste plek. Net als je camera, portemonnee etc. Daarom is een tanktas doorgaans een handig ding. Maar niet altijd.

De meeste tanktassen bevestig je met weinig moeite op de tank met een riem rond het balhoofd en haakjes om de onderzijde van je brandstoftank. Een magneet-tanktas kan ook, maar die werkt niet op een plastic tank. Maar dan moet je benzine tanken. Moet je het hele zaakje lossen voor je de tankdop kunt openen! Niet handig.

Kappa biedt je de keuze uit vijf tanktassen met het Tanklock systeem. De prijzen variëren €75,- en €129,-. Ze hebben een inhoud van 4,5 tot 18 liter. Met het Tanklock systeem verwijder je in een oogwenk de tanktas van de tankring die rond de tankdop van je brandstoftank is geschroefd. Dus geen geklungel met riemen en haakjes. Gewoon het schuifje verzetten en de tanktas afnemen.

Kappa heeft voor zo’n beetje alle motormodellen – 200 – wel een tankring beschikbaar. De vijf tanktassen zijn leverbaar met de volgende kenmerken:

  • Geïntegreerde kaarthouder
  • Waterdichte hoes
  • Verwijderbare smartphone houder
  • Riem om de tas te dragen los van de motor
  • Mogelijkheid om een voedingskabel aan te brengen, verbonden met de batterij.

Aanbieding

En dan nu de aanbieding: als je voor 16 juli een Kappa Tanklock tanktas koopt, krijg je de bevestigingsbeugel – die afhankelijk van de tanktas tussen €24 en €55 kost – er gratis bij.

Kappa dealers staan op www.ipstore.be/dealerlocator

Harley-Davidson bouwt met Chinese partner lichte motoren voor Azië

0
Harley-Davidson XR338 Concept

Nog maar een paar dagen was het een gerucht, maar Harley-Davidson heeft bevestigd dat het een project start dat lichte motoren moet opleveren voor de Aziatische markten.

Voor dat doel gaat Harley-Davidson een samenwerking aan met de Qianjiang Motorcycle Company. Het toekomstige model heeft een inhoud van 338cc en zal eerst in China op de markt komen. Weldra zullen andere Aziatische landen volgen.

Harley-Davidson was zo vriendelijk om al wat – gerenderd – beeld van het concept van de motorfiets vrij te geven. Het model lijkt sterk op de XR250 concept, waarvan de belden al eerder op het internet verschenen.

De motor ‘Designed by Harley-Davidson’ wordt in China gebouwd door Qianjiang. En dat is geen onbekende in motorland. Het bedrijf is ook verantwoordelijk voor het merk Benelli Motorcycle, dat de afgelopen jaren grote vooruitgang heeft geboekt.

Harley-Davidson is content met de samenwerking en vindt dat het de Qianjiang Motorcycle Company een sterke Chinese partner heeft gevonden. Matt Levatich, President en CEO van Harley-Davidson over de samenwerking: ‘Harley-Davidson heeft over de hele wereld motorrijders geïnspireerd. Ons “More Roads-plan” is erop gericht aan nog meer mensen de vrijheid te geven die het merk Harley-Davidson kan bieden. We zijn enthousiast over de mogelijkheden van Harley in China, een van ’s werelds grootste motormarkten. Het kan nieuwe wegen naar ons merk te creëren.

Aziatische markten steeds belangrijker

Zoals te verwachten, hoopt Harley-Davidson dat China een belangrijke drijvende kracht zal zijn in de groei van de internationale verkoop van het bedrijf. Het Amerikaanse bedrijf hoopt de verkoop buiten de USA tegen het jaar 2027 te laten groeien tot 50% van het totale volume van het bedrijf. Dat lijkt fors, maar door de dalende verkopen in de USA, zou dat cijfer gemakkelijker te bereiken kunnen zijn dan je zou denken.

Interessant in dit alles is het volledig ontbreken van de Amerikaanse en Europese markten met betrekking tot de XR338. Of de focus van Harley-Davidson ligt volledig op de Aziatische markten, of de plannen om de motioren vanuit China naar Europa en de USA zijn nog niet helder. Belasting, vakbonden en politiek zouden hierin en rol kunnen spelen. Wel helder is dat de China een belangrijke markt is voor elk motorfietsmerk. Ook voor Harley-Davidson dat met de samenwerking een grote stap voorwaarts gaat zetten. Het model dat ze in gedachten hebben, klopt. De Chinese partner heeft ervaring met het bewerken van buitenlandse markten én ze hebben de motivatie om snel grote stappen te zetten.

20 & 21 juli: Yamaha Ténéré Tour in Nederland

0
Yamaha Tenere Tour

De Yamaha Ténéré Tour komt op 20 en 21 juli 2019 naar Nederland. Met de nieuwe de nieuwe Yamaha Ténéré 700. Of zoals Yamaha het zelf zegt: ‘Ervaar de wereld van de Ténéré en maak een reis naar The Next Horizon!’

De Yamaha Ténéré Tour is de eerste mogelijkheid in Nederland om proef te rijden met de nieuwe Ténéré 700. Op zowel verhard als onverhard wegdek!

Wij waren erg enthousiast over de Ténéré 700. Maar Yamaha wil natuurlijk ook weten wat jij er van vindt.

Meld je snel aan, want vol = vol.

Kawasaki W800 modellen getest in Japan

0

Op uitnodiging van Kawasaki vloog Bart Verhoeven naar Japan om daar te rijden op de 2019 W800-modellen van Kawasaki. Tevens kregen we historische les over de eerste W1 motor die door Kawasaki 54 jaar geleden werd geïntroduceerd. Het werd een bijzondere motorreis.

Spitsbergen: 78,2 o Noord !

0

Het noordpoolgebied is pure magie, een wonderschone wereld, voorbehouden aan toeristen met heel veel geld, wetenschappers of actievoerders. Dat je er met een motor kunt rijden, lijkt ondenkbaar. En toch kan het. Op de Noordelijkste weg ter wereld. We gaan naar 78,2 Noorderbreedte.

Jan Dirk Onrust

Op vrijdagmiddag, als de druk van de week is, gaan wij niet vroeg naar huis of aan de borrel. Wij gaan zoeken op Google Earth. Waar liggen nog wegen waar bijna niemand van weet? Hoe ver kun je komen? We zoomen in, bekijken foto’s, duiken in Wikipedia. En dan ineens is het: pats! Daar zit wat! Niet te geloven, zeg.

Zo begon het ook bij de meest bijzondere bestemming waar we ooit zullen motorrijden. We besloten op zoek te gaan naar de meest noordelijke weg ter wereld. Alaska lieten we al snel vallen – het hoogst berijdbare punt ligt nog lager dan de Noordkaap. Canada en Groenland hadden op de 76ste en 77ste breedtegraad een paar Inuït-dorpjes met een vliegveld en vier kilometer weg. Daarna scrolden we verder naar Svalbard. En wat ontdekten we daar? Patsboemknal!

Svalbard – bij ons beter bekend als Spitsbergen – is de buurman van de Noordpool. In een strenge winter zit de archipel van ruim tachtig eilanden aan het pakijs vast. In nog strengere winters worden ze volledig ingekapseld, maar die winters komen al jaren niet meer voor.

De hoofdplaats is Longyearbyen, genoemd naar de Amerikaanse mijnbouwondernemer die het stadje in 1906 stichtte. Ruim 2000 mensen wonen er en het ligt nog noordelijker dan de noordelijkste Eskimo-dorpjes: op 78,2 graden Noorderbreedte. Maar het mooiste is nog: ze hebben wegen, een netwerkje van bijna 50 km. Dat lijkt weinig, maar voor noordpoolbegrippen is het ongekend veel.

Dat kan niet!

‘Motorrijden?!? U wilt motorrijden bij ons?’ Na een korte stilte horen we de medewerkster van de VVV van Longyearbyen van haar stoel vallen. ‘Er is nog nooit een toerist met een motor naar Svalbard gekomen. Dat kan helemaal niet!’

Oh nee? Van een vorig avontuur kennen we een IJslandse rederij die alles kan. Eimskip, de heerser over de Noord-Atlantische wateren. Met een vestiging in Rotterdam. We bellen om te vragen wat een retourtje Spitsbergen kost voor een motor. Nu is het onze beurt om van stoelen te vallen. Maar oké, de Noordpool ligt niet om de hoek. En bovenal staan we op het standpunt dat je gek moet zijn om het te doen, maar nog gekker om het te laten. Dit is materiaal waarvan dromen zijn gemaakt.

IJsbreker

Een paar maanden na het eerste telefoontje staan we in de haven van Velsen voor een enorm stoere koeldiepvriescombinatie van Eimskip. Een ijsbreker van de hoogste klasse. Net zo cool is de Yamaha Super Ténéré Worldcrosser die we in een krat aanleveren. Als de Yahama per heftruck in de ijsbreker verdwijnt, denk ik aan het moment dat we hem weer terug zullen zien. Ik kan me nauwelijks voorstellen dat het allemaal echt gaat gebeuren.

We wachten ruim een week en dan vliegen we via Oslo de motor achterna. Na bijna 3000 km – we zijn de Noordkaap dan allang gepasseerd – komt er land in zicht. Of eigenlijk ijs. Onmetelijk veel ijs, dat hier en daar wordt doorboord door zwarte bergen. Spitse bergen ja, zoals ontdekker Willem Barentsz ze ook zag in 1596. Aan een inham van de ijswoestijn vindt de piloot een sneeuwvrije strook. De Adventfjord, met afstand het merkwaardigste deel van Noorwegen. Wie haalt het in zijn hoofd om hier te gaan wonen, vraag je je af.

Niemand gaat dood

Eddie Rasmussen haalt ons op. Halflang grijs haar, zestig, mijnbouwingenieur en voorzitter van de plaatselijke motorclub. Een paar jaar geleden kreeg zijn club een stuntrijder op bezoek, die op de plaatselijke crossbaan een salto maakte. Eddie vroeg hoe het moest en deed prompt zelf een poging, die nog voor 90 procent slaagde ook. Eddie ziet dus eigenlijk nergens een probleem, heeft een hang naar avontuur en staat voor iedereen klaar. Dat is de mentaliteit om op Svalbard te overleven, want er is niets om je op te vangen als je niet op eigen benen kunt staan. Geen uitkeringsinstantie, geen tehuis, geen echt ziekenhuis en zelfs geen echt kerkhof. Er zijn hier dus geen werkelozen, geen bejaarden, zieken of gehandicapten en bijna niemand gaat hier dood. Er staat tegenover dat er ook nauwelijks belasting wordt geheven. Benzine, tabak, auto’s en motoren zijn hier dan ook spotgoedkoop. Wat waren de sociale nadelen ook alweer?

Arctisch woestijnklimaat

Het is zonnig als we in de haven aankomen en een graadje of zeven. Dat is in de zomer vrij gewoon. Maar het voelt lekkerder dan het klinkt. Je ziet hier zelfs mensen op terrasjes zitten. Dat komt omdat de lucht erg droog is: Svalbard heeft een woestijnklimaat – een arctisch woestijnklimaat. Neerslag valt er nauwelijks.
‘Yo! Daar heb je hem!’ roept Jan. Een siddering van blijdschap schiet door me heen. Bij het transportbedrijf staat de krat met de Yamaha.

Gretig pakken we hem uit. Ik spring erop en rijdt mijn allereerste meters op Noordpoolgebied. Nog nooit kwam een geel kenteken, een Yamaha Super Ténéré of redactielid zo noordelijk. Er welt iets plechtstatigs in me op. ‘Voor mij is dit maar een heel klein stukje rijden,’ zeg ik, ‘but it’s a giant leap for promotorkind!’
‘Promotorkind? Promotorkleuter zul je bedoelen,’ zegt Jan ‘Buzz’ Kruithof ongeduldig. ‘Laat mij ook eens even.’

Konijntjes neermaaien

We zouden nu de wildernis kunnen inrijden. Maar Eddie heeft een ander idee. Hij opent zijn kofferbak waarin een grote revolver en een jachtgeweer liggen. ‘Zullen we eerst even lekker gaan schieten?’

Huh? Schieten? Ja, natuurlijk! Leuk man. Een kwartier later staan we bij de plaatselijke schietclub ijzeren konijntjes neer te maaien. Kdoeng! Blaf! Knetter! In Nederland heb je vast dertig vergunningen nodig om überhaupt een vuurwapen te mogen vasthouden. In Longyearbyen lopen de mensen over straat met een Colt .44’s alsof het Magnum-ijsjes zijn. Ja, Svalbard is zwaarder bewapend dan Afghanistan. Dat heeft een goede reden. En die hangt aan de muur van de schietclub: een poster van een ijsbeer met daarop drie schietschijven: op de kop en op het hart van twee kanten.

De gevarenzone in

Na de oefening krijg ik het geweer van Eddie mee en kan ik gaan. Aan de rand van het stadje passeer ik een waarschuwingsbord met een ijsbeer erop. Voor me ligt de brede Adventsvallei, hier maakt het asfalt plaats voor breed gravel. Dit is het begin van de gevarenzone, hier gaat niemand zonder wapen in…
Spitsbergen heeft meer ijsberen dan inwoners. Misschien wel 5000. Dat geeft het motorrijden een ongekende dimensie. Ondanks het geweer heb ik me nog nooit zo naakt gevoeld. De kans dat je hier een ijsbeer tegenkomt, is weliswaar niet groot, want ze zijn tamelijk schuw. Maar soms ze zijn desperaat van de honger. En dan maakt het ze waarschijnlijk niet veel uit of ze nou een zeerob met of zonder Rukka-pak te grazen nemen.

Het kanon

Na een kilometer of tien zie ik de Operafjellet. Een vliegtuig vloog hier in 1996 tegen de top van 900 meter. Niemand van de 141 inzittenden overleefde het. De passagiers waren Oekraïense mijnwerkers, die in de twee Russische plaatsjes van Spitsbergen werkten: Barentsburg en Pyramiden. Als gevolg van het ongeluk zou Pyramiden uiteindelijk een spookdorp worden.

Mijn bloed bevriest even als ik iets wits zie bewegen. Het blijkt maar een rendier te zijn; dik, rond en vlakbij. Ik besef dat mijn grootste wapen niet het geweer is, maar het kanon: de Super Ténéré. Zelfs nu het gravel wat zachter en dieper wordt, ligt hij muurvast op de weg. Een ijsbeer is zo snel als de bliksem, zeggen ze hier. Maar tegen de Yamaha maakt hij geen schijn van kans.

Bungelende zeehonden

Aan het eind van het dal gaat de weg flink omhoog. Bij de eerste haarspeldbocht verstijf ik opnieuw. Vlak langs de weg bungelen zes dode zeehonden aan een touw. Ze zijn bedoeld om ijsberen af te leiden van de sledehondenkennel die erachter ligt.

De weg klimt verder. Hij passeert de ingang van mijn 7. Hier wordt een van de meest hoogwaardige steenkoolsoorten ter wereld gewonnen. Een groot deel is voor eigen gebruik. Een ander deel gaat naar Duitsland, waar Mercedes en BMW het gebruiken bij de fabricage van motorblokken.
Ik stuif nog even flink door over het mooie gravel tot ik op de top in de sneeuw terechtkom. Hier staan twee radiotelescopen van de andere belangrijke inkomstenbron van Spitsbergen: wetenschappers.
Een slagboom geeft aan dat de weg hier echt ophoudt. Voor me liggen alleen nog maar honderden kilometers sneeuw en ijs. In het felle zonlicht schittert en sprankelt alles hier. In de achtergrond ligt de blauwe Adventfjord, met zijn spitse blauwe bergen en gletsjers die tot zeeniveau komen. Het komt misschien omdat ijsberen mijn zintuigen wijd hebben opengezet, maar ik ervaar het als intens mooi.

Het allernoordelijkste punt

Aan de andere zijde van Longyearbyen liggen nog meer wegen. Een ervan leidt naar de Svalbard Global Seed Fault. Dat is een voormalige mijn waarin 20 miljoen zaden van alle mogelijke gewassen zijn opgeslagen. Als de wereld ineenstort door oorlog, klimaatrampen of grapjes van Gordon, kan hij van hieruit opnieuw worden opgebouwd. Svalbard lijkt wel wat op een engel, die hoog boven ons bezorgd naar de wereld kijkt, zonder er zelf deel van uit te maken.
Hierna kan het jachtgeweer weer op de rug worden gehangen om over weg 238 naar de Isfjord te rijden. Bij het lichtbaken zitten we op het allernoordelijkste punt ter wereld dat je per weg kunt bereiken. In de verte zien we een luxe cruiseschip langs een gletsjer varen. Kost even tussen de 10- en 20.000 euro kaal, want een cruise naar Svalbard is uiterst exclusief. Maar wij willen iets wat nog veel exclusiever is: een motorreis naar Svalbard organiseren voor de Promotorclub. ‘Dat is in de geschiedenis van het heelal nog nooit gedaan,’ zegt Eddie. Zo is dat. Alleen al daarom willen wij het gaan proberen. Gekker kan bijna niet, en veel mooier ook niet.

Sovjet-symbolen

Wij rijden nog even door over een wild kustweggetje naar de IJsberenvallei en dan hebben we alle wegen gehad. Met wat heen en weer rijden erbij, heb ik ruim 150 km afgelegd. Dat lijkt niet veel, maar bedenk wel dat Neil Armstrong slechts enkele honderden meters op de maan heeft gelopen. Die afstand had hij ook in het Kralingse Bos kunnen afleggen. Toch is dat iets anders. Zo moet je Spitsbergen ook zien. Het zal een echt unieke ervaring worden. De poolarchipel heeft bovendien genoeg ander avontuur te bieden om de tijd vol te maken. Je kunt hier sledehondentochten maken, met quads rijden en vooral veel varen. Naar een gletsjer, vogelrotsen en een paar Russische nederzettingen. Heel curieus is Pyramiden, waar ooit 1000 mensen leefden. De laatste zestig hebben het in 2000 van de een op de andere dag verlaten, maar de Sovjet-symbolen staan er nog steeds. Ook Barentsburg, waar nog wel een paar honderd Russen wonen, lijkt nog in het Sovjet-tijdperk te leven.

Elke seconde bijzonder

Veruit de interessantste plaats is Longyearbyen. Er wonen maar 2000 mensen, maar je kunt er alles vinden: winkels, restaurants, café’s, een bank, musea en zelfs een universiteit – met schietbaan. Romantisch kun je het stadje niet echt noemen, ruig wel. Het mijnbouwverleden en de knetterharde winters zijn overal aan af te lezen. De straten hebben geen namen, maar nummers. Leidingen liggen bovengronds. Inwoners lopen niet zelden met geweren rond – al verzoekt de bank het gebouw onbewapend te betreden. Toch is ook sfeervol, jong, internationaal en ontspannen. Maar is het vooral de stad met de meest extreme ligging ter wereld. Alleen dat feit maakt elke seconde hier bijzonder.

[sgpx gpx=”/wp-content/uploads/gpx/TRK-Spitsbergen.GPX”]

Charley Boorman over de nieuwe serie Long Way Up

2

In Long Way Down reed het duo Charley Boorman en Ewan McGregor vanuit Europa naar Zuid-Afrika. Sindsdien kijken wij halsreikend uit naar het logische vervolg Long Way Up.

In een gesprek met mede-oprichter van Bremont Watches Nick Engels Boorman verklapt Boorman wat details over deze langverwachte serie.

Promotor Magazine heeft de mogelijke route al verkend, die het duo gaat afleggen:

Faeroer: De Onwaarschijnlijke Eilanden

IJsland: Woest land

Noordkaap – Zuidkaap

Spitsbergen: 78,2 O Noord

https://www.youtube.com/watch?v=evhiGKrHmYc

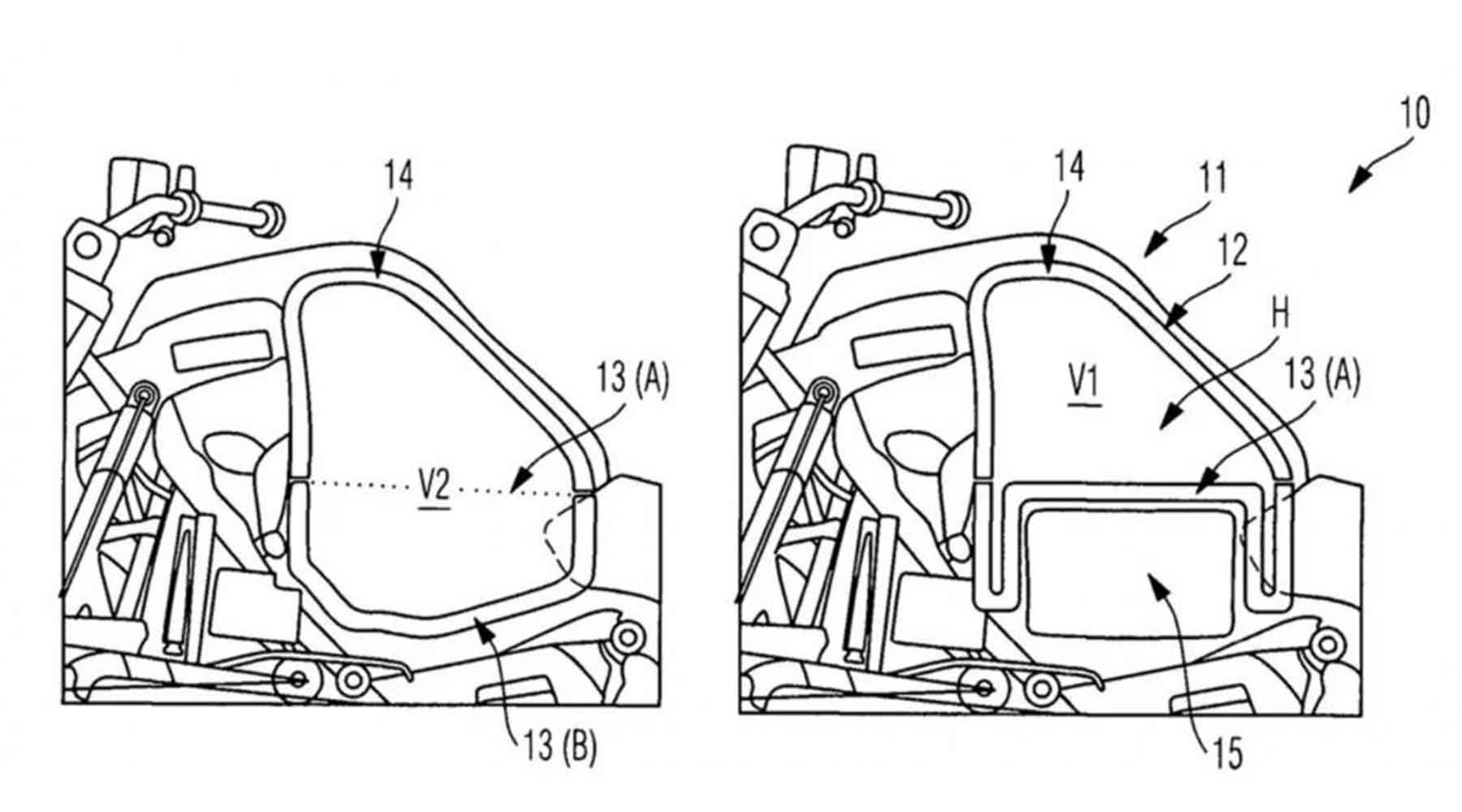
Deponeert BMW flexibele brandstoftank voor hybride motorfiets?

0
BMW flexibele brandstoftank

BMW heeft octrooien aangevraagd voor een nieuwe, flexibele brandstoftank. Dat zou erop kunnen wijzen dat er serieus werk wordt gemaakt van een hybride motorfiets.

Het is niet de eerste keer dat BMW zich in de wereld van hybride motorfietsen stort. Je herinnert je vast nog wel de BMW R 1200 GS van Wunderlich. Die had naast het gebruikelijke Boxer-blok ook een 7,6 kW elektromotor in de naaf van het voorwiel. Het zou zo maar kunnen dat deze motor officieel wordt.

De nieuwe patenten tonen een ‘brandstoftank met variabele capaciteit’. Het onderste deel van de tank is gemaakt van een flexibel materiaal. Dat maakt het makkelijk om de vorm van de tank aan te passen. Ook kan er een verwijderbare accu in opgenomen worden die de elektromotor aandrijft. Kennelijk is het de bedoeling dat je een lege accu kunt omruilen – bij de BMW-dealer – kunt omruilen voor een volle. Het belangrijkste voordeel is dat je de elektromotor benut in en rond de stad. Als je een – lange – toer gaat maken, laat je de accu thuis en vergroot je de inhoud van de brandstoftank.

Ondanks dat het octrooi niet ingaat op de specifieke kenmerken van de hybride aandrijving zelf, kun je het doel van de nieuwe technologie goed doorzien.

KTM presenteert Adventure R Rally

0

We zijn net gewend aan de 790 Adventure R en dus vinden de Oostenrijkers het hoog tijd om een exclusievere versie bekend te maken. Slechts 500 stuks worden er namelijk gebouwd van deze Rally-uitvoering van die twin. Nog extremer gericht op avontuurlijk reizen dan de Adventure en Adventure R. ‘Gemakkelijk doorkruis je een continent om aan de start van een rally te verschijnen’ lezen we in het persbericht. Toe maar. Dat doet vermoeden dat KTM een dergelijke rally gaat organiseren, maar dat terzijde.

Vering
Een potente knaap dus, die Rally. Dat heeft voornamelijk te maken met zijn afwijkende uitrusting. De focus ligt bij de verbeterde vering. KTM hangt er namelijk XPLOR PRO-vering van WP aan. Systemen die vergelijkbaar zijn met het materiaal waar de echte rallyrijders in bijvoorbeeld de Dakar mee op pad gaan. De voorpoten zijn zo minimalistisch mogelijk bedacht zodat er zo min mogelijk interne componenten in de weg zitten van de vloeistof. Die kan daardoor vrij stromen en goed dempen. De achtervering maakt gebruik van een Progressief Demping Systeem is volledig instelbaar. Bij elkaar win je voor en achter 30 mm aan veerweg en stijgt de zithoogte met dezelfde afstand naar een indrukwekkende 910 mm. Daarmee moet de 790 zowaar echt aanvoelen als een rallymachine zoals KTM die in de Dakar levert.

Uitrusting
De velgen zijn smaller om minder snel beschadigd te raken in extremere omstandigheden. Verder zit er in de standaarduitrusting een Akrapovič uitlaat, quickshifter en koolstofvezel tankbeschermers. Dat laatste zou je op een andere motorfiets natuurlijk als valbeugels terugzien. Maar omdat de benzinetank van de 790 Adventure wat vreemd langs de zijkanten uitstulpt is er gekozen om het onderste gedeelte wat meer te versterken. Om het plaatje compleet te maken is er gekozen voor een afwijkend kleurenschema, met meer wit om de exclusiviteit nog eens te onderstrepen. Prijs en levertijd zijn nog niet bekend gemaakt, maar in de persmap spotten we wel het woordje EICMA wat erop zou kunnen wijzen dat hij daar nog eens in zijn volledigheid zal worden gepresenteerd.